Robotic Platform Technologies to Improve Evaluation and Outcome of Autism Therapy
PABI™ the Penguin for Autism Behavioral Intervention Implements effective interventions and supports to significantly reduce costs, improve outcomes, increase accessibility
US Patent 10,176,725
“System and method of pervasive developmental disorder interventions”
Filed: Priority Date: 8/29/2011, Granted 1/8/2019 (Continuation application pending)
Autism is a global issue and its prevalence has been rapidly increasing. There is an enormous financial burden (~$60k/yr.) placed on families who need Applied Behavioral Analysis (ABA) therapy for their child diagnosed with autism. The PABI™ (Penguin for Autism Behavioral Intervention) robot takes into consideration the complex and substantial burden placed upon families and providers, while trying to implement effective interventions and supports to significantly reduce costs, improve outcomes, and increase accessibility to many families in need. We hold broadly defined IP with a priority of 2011 related to interactive socially assistive robots for ABA therapy incorporating tracking and quantitative assessment.
Robotic technology is promising for enhancing diagnosis and therapy for autism spectrum disorder (ASD) and other pervasive developmental disorder (PDDs) due to its affordability, multimodal interaction, and being able to provide repeatable, standardized stimuli while quantitatively recording and monitoring performance. A socially assistive robot (SAR) integrated into the therapy session enhances the ability to collect relevant data such as attention, affect, gaze direction, and gestures in addition to conventional measures. We have implemented our technology on PABI™, an affordable penguin-like robot built for guiding aspects of ABA therapy in school-based, home, or medical settings. Co-developed by a psychologist and engineering team the robot and associated workflow takes into account the psychological underpinnings of the disorder. For example the colors, fabric, movement, voice, size, application of the PABI™ were all aligned with evidence-based intervention applications. Through expressive facial expressions and body motion, verbal cues, intelligent vision-based tracking of the child, a tablet computer interface, and the support for remote cloud-based monitoring and curriculum management, the robot interacts meaningfully with an autistic child. Successfully piloted with children with ASD, the systems shows promising initial results and enthusiastic support from the teachers/therapists.
Background:
The prevalence of individuals diagnosed with ASD is 1 in 59 children. Estimates for the costs of care over the lifetime of an individual with ASD are approximately $1.4-2.4 million. Costs include items and services related to education, health-care, caregiver time, and ASD-related therapy and hence are a substantial economic burden. Thus, the emotional and financial burden on the family and caregivers of individuals with ASD makes clear the need for effective interventions. ABA therapy has the longest history and most extensively documented evidence base to support its efficacy in the treatment of autism. The prevalence of autism has been rapidly increasing worldwide; however, access to ABA interventions can often be difficult and there is a shortage of highly trained professionals domestically and internationally - especially in remote and disadvantaged areas. The combined use of ABA with technology, in the form of SARs, is an important way to overcome barriers to obtaining effective ABA interventions that include affordability, consistency in delivery, administrative burdens on therapists, and high burnout rates. SARs can also manage the administrative responsibilities in quantitatively diagnosing and effectively conducting therapy as a programmable system that can adaptively address the different needs of children with ASD. These systems can administer sessions, collect data, and generate reports and graphs. Thus, they are potentially a powerful asset to any ABA therapist, their student(s) or client(s) and others involved in the progress of the individual. Robotic technology allows for consistency in terms of stimuli presented, and in quantifying and recording performance. Such standardized monitoring used to facilitate diagnosis, intervention assessments, reduces administrative burden on the part of therapists while enhancing the efficacy of the treatment. In utilizing session time more efficiently, greater gains in behavior are possible.
Technology Overview:
Investigated over the past decade, are a number of social robots with the ability to interact autonomously, especially as assistive tools for engaging children diagnosed with ASD. We anticipate that robots coupled with automated assessment and curriculum management will become the standard of care for assessment and intervention of children with autism to ensure effective care. We have developed the PABI™ SAR; a cartoon-like, non-anthropomorphic, small-sized, accessible social robot designed for effective early interventions in children with autism (See media and technical presentation links). The initial implementation includes ABA discrete trial training (DTT) therapy where the child interacts with stimuli on a touch screen tablet wirelessly interfaced with the robot. The program utilizes a virtual flashcard database and associated individualized curriculum (can be local or cloud-based). PABI™ uses cameras in eyes to track the child in order to model eye contact, and to collect data such as affect and gaze direction for charting progress and monitoring the child’s attentiveness to the ABA sessions. AI based techniques have been implemented for the interaction system (e.g. face detection, user identification, and gaze and emotion detection), and to automatically assess level of engagement that can be used to adapt the therapeutic plan. PABI™ uses gaze tracking for both assessment and interactively increasing socially desirable behavior. PABI™ leverages live interactive face and gaze tracking while conducting therapy to observe the subsequent effects of the therapy on socially desirable behaviors. For example, gaze tracking can sustain eye contact over a given amount of time, documenting whether or not attention prompting was required. Reports are available at any given point during therapy that will identify patterns of behavior displayed by the individual in relation to the antecedent and consequential events during the session.

A number of studies suggest that autistic children can be more comfortable interacting with robots, possibly, because the robots’ behavior and reactions are more consistent and predictable than that of humans. Children with autism often have trouble reading and responding in a socially appropriate way to other people’s emotional expressions; however, with SARs there may be more engagement by the child because of the predictability of the interactions. We strongly believe that delivery of aspects of ABA therapy including DTT should be by electronic means using a robot to assist in administering the session coupled with all electronic scoring and reporting, and cloud-based management. Thus, there should be a move from paper-and-pencil recording to robotic presentation and computerized scoring. Enabling therapists to be more engaged (a result evident in our pilot study), due to lower administrative burdens, will result in increased child engagement. With more engagement by both the therapist and the child, we can expect to see greater skill acquisition by the child and reduced burnout of the therapist.
IP Summary:
Intellectual Property on PABI™ and underlying technologies predates much of the recent work in SARs, and especially SARs with advanced sensing and autonomous behaviors. It is highly likely that any successful market SAR for ABA therapy will infringe on the claims of our granted patent. A search of both academic publications and patents found no robot-assisted ABA therapy references prior to our filling date.

US Patent 10,176,725: “System and method of pervasive developmental disorder interventions” Priority Date: 8/29/2011, Granted 1/8/2019.
Continuation Application 16/214,873 pending, and the application is still alive enabling further filings on a broad array of technologies identified in the specification (including integration with cloud-based curriculum management and analytics, computational intelligence on a remote resource, and various interactive user experience scenarios) that maintain the 2011 priority date.
Paraphrasing, the granted patent (US Patent 10,176,725) broadly recites: a robot (and associated method) configured for providing ABA therapy and generating therapy data, the robot interactively provides instructive commands, sensors monitor the response including subjects eye gaze, the robot responds, and a quantitative metric is generated. It further recites a method for: an external system receiving ABA therapy data from an interactive robot and performing a diagnosis of the subject.

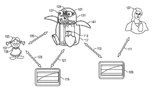
(Above) User interaction workflow of the PABI™. The robot is loaded with a child-specific curriculum, manages administration and logging of the session while interacting with the child, and enabling remote monitoring, control, or curriculum management.
(Below) Governor Baker excited about the healthcare potential of PABI™

Media links:
- CBS News (On-air Nov 2016): Penguin Robot Provides Help for Children with Autism
- ABC News WCVB5 (On-air Feb 2017): Cute Penguin Robot Helping Kids with Autism Learn
- Robotics Trends (Published Dec 2016) PABI™ Penguin Robot Making Autism Therapy More Affordable
- Organization for Autism Research OAR (Published Jan 2017) Penguin Robot Designed to Help Children with Autism
- Artificial Intelligence in Education Market is Estimated to Grow at a CAGR of 31% by 2027 Owing to the Necessity for Reshaping Education System for Students with Learning Disabilities (Published Mar 2019)
Research articles:
- Dickstein-Fischer L., Crone-Todd A., Chapman I., Fathima A., & Fischer G. (2018, June). Socially Assistive Robots: Current status and future prospects for autism interventions, Innovation and Entrepreneurship in Health, Vol 2018, No 15, pp 15-25.
- Dickstein-Fischer L., Gandomi K., Pereira R., Fathima A., & Fischer G. (2017). Interactive Tracking for Robot-Assisted Autism Therapy. In Proceedings of the Annual International Conference on Human Robot Interactions, ACM/IEEE, HRI, Vienna, Austria.
- Dickstein-Fischer L, Fischer G. (2014, September). Combining Psychological and Engineering Approaches to Utilizing Social Robots with Children with Autism. In Proceedings of the 36th Annual International Conference of the IEEE Engineering in Medicine and Biology Society, Chicago, IL.
- Dickstein-Fischer, L., Alexander, E., Xiaoan, Y., Su, H., Harrington, K., Huang, H., & Fischer, G. (2011, September). An affordable compact humanoid robot for Autism Spectrum Disorder interventions in children. In Proceedings of the 33nd Annual International Conference of the IEEE Engineering in Medicine and Biology Society, Boston, MA.